下周,三星将赶在移动世界大会(MWC 2019)之前,在旧金山召开 Galaxy S10 新品发布会,传说中的 Galaxy F 亦有望正式亮相。

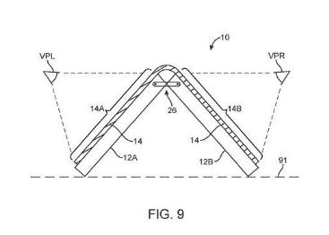
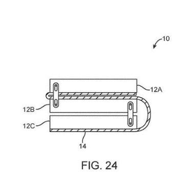
有趣的是,周四的时候,苹果更新了其可折叠翻盖手机的专利插图。其最初提交于 2011 年,并在 2016 年有过一次更新,描绘了一款配有柔性屏的iPhone的样子。

而选在三星发布会之前更新专利插图,显然是要大干一场的节奏。插图描绘了两种方案,一种将屏幕内折,另一种将屏幕外翻。

新图纸将手机折叠成了两半,采用了类似摩托罗拉 Razer 手机专利中的类似方法,以便于携带。相比之下,三星和小米的方案,更在意如何将手机变为一款迷你的平板电脑。

这种特殊的铰链和屏幕弯折设计,不仅可以用在手机上,也适用于MacBook或iPad等设备。虽然苹果一直不回应外界的置评请求,但若该公司能够在 2019 款 iPhone 上这么做,一定会让不少人感到兴奋。
一品知识产权支持发明、外观专利申请、实用新型专利申请,想了解更多和专利申请、专利维权有关的内容,尽请关注我们!
便捷链接:赶在三星发布新品前,苹果
本文来源:网络?买卖商标注册授权入驻“天猫”“京东”“拼多多”“抖音头条”“商标百科”
版权说明:上述为转载或编者观点,不代表亿佰倍懂商标意见,不承当任何法律责任
亿佰倍懂商标官方微信
欢迎关注亿佰倍懂
微信号:K58158 热门TAGS
购买上海商标 商标复审 商标撤三答辩 商标驳回复审 国际商标驳回 知名商标转让 白酒商标网 19类商标转让 18类商标转让 17类商标转让 16类商标转让 15类商标转让 14类商标转让 13类商标转让 11类商标转让 12类商标转让 10类商标转让 9类商标转让 8类商标转让 7类商标转让 6类商标转让 5类商标转让 4类商标转让 3类商标转让 2类商标转让 1类商标转让 T恤商标转让 红酒商标转让 黄酒商标转让 水饺商标转让 糖果商标转让 闲置商标转让 商标购买网站 月饼商标转让 购买月饼商标 购买牛奶商标 牛奶商标转让 购买餐饮商标 餐饮商标转让 啤酒商标转让 购买啤酒商标 购买酒类品牌 酒类品牌转让 购买饮料商标 饮料商标转让 食品商标转让 购买食品商标 购买镀膜商标 镀膜商标转让 机油商标转让 购买机油商标 头枕商标转让 购买头枕商标 车衣商标转让 购买车衣商标 购买车贴商标 车贴商标转让 凉垫商标转让 睡袋商标转让 包子商标转让
联系方式
【商标网】
企业QQ:1728988888
手机: 18211558558
官方微信:K58158
广东(总部)北京(分部)深圳(分部)

*截止
,共有人阅读了本文。


40
加工服务