全部服务分类
  • 商标注册1专区

  • 申请商标专区

  • 商标套餐专区

  • 白酒商标转让专区

  • 商标转让专区

  • 版权登记专区

  • 城市商标注册专区

  • 中国商标转让专区

more

“微信用”商标已初审,阿里注册这枚商标要干

*截止 ,共有人阅读了本文。

推荐阅读:“微信用”商标已初审,


  互联网发展迅速,几大巨头们一路高歌猛进,在发展和拓展业务上各显神通。

  但是同在这个互联网时代中,业务难免会有重叠,甚至连商标就会出现近似。这不,阿里巴巴和腾讯就因为商标“撞车”了。

“微信用”商标已初审,阿里注册这枚商标要干啥?

  看着腾讯众多的“微信”商标,没想到在阿里巴巴名下竟然也有一枚有关“微信”的商标,名叫“微信用”。

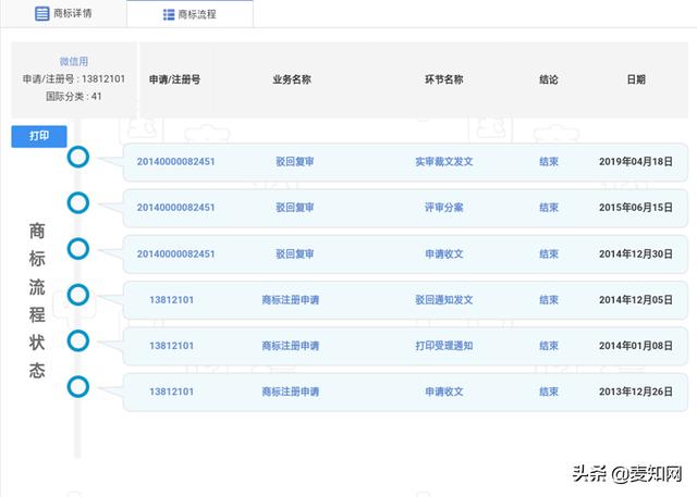
  阿里巴巴集团在2013年12月26日向商标局申请了第41类13812101号“微信用”商标,核准使用在节目制作;培训;娱乐;书籍出版等商品上。

  这枚让人以为是腾讯家的商标,没想到竟是阿里巴巴注册的,而且在2019年9月13日初审公告了,也就是5天前。

“微信用”商标已初审,阿里注册这枚商标要干啥?

  阿里巴巴这是要做什么?抢注腾讯商标?还是另有深意?

  而根据查询,阿里巴巴在同一天并非只注册了这一枚“微信用”商标,而是有7枚。

“微信用”商标已初审,阿里注册这枚商标要干啥?

  但是,基本都被驳回了,其第16类也曾初审公告过,不过依旧被异议驳回了。大部分的驳回原因很一致:阿里巴巴申请“微信用”商标与引证商标(第9452607号“微信”商标、第12859370号“微信”商标)核定使用的服务属于类似服务,且与引证商标在文字构成、呼叫上相近,不易区分,易引起相关公众的混淆和误认,构成使用在类似服务上的近似。

  就算是最近初审公告的这枚41类,也经历了数次驳回。

“微信用”商标已初审,阿里注册这枚商标要干啥?

  不过,众人看到“微信用”商标,90%以上的人首先联想到的一定是腾讯旗下的微信软件,所以对于阿里巴巴申请“微信用”商标是否存在剑指腾讯的嫌疑,引来一众网友的质疑。

  现如今,这枚41类商标已经进入初审公告了,不知腾讯是否已知晓,或者这枚商标将会步上第16类“微信用”商标的后尘?这个我们目前还不得而知。

  不过总体上来说,“微信用”与“微信”只一字之差,确实令人浮想联翩。小编还是提醒广大企业主,商标注册前一定要做好商标查询工作,以免遇上近似或者相同,造成不必要的金钱、时间上的浪费。


上一篇:床上用品商标转让怎么办理?
下一篇:还不会logo设计?看完这30种方法,妈妈再也不用


亿佰倍懂商标官方微信

欢迎关注亿佰倍懂

亿佰倍懂 微信号:K58158

热门TAGS


购买上海商标 商标复审 商标撤三答辩 商标驳回复审 国际商标驳回 知名商标转让 白酒商标网 19类商标转让 18类商标转让 17类商标转让 16类商标转让 15类商标转让 14类商标转让 13类商标转让 11类商标转让 12类商标转让 10类商标转让 9类商标转让 8类商标转让 7类商标转让 6类商标转让 5类商标转让 4类商标转让 3类商标转让 2类商标转让 1类商标转让 T恤商标转让 红酒商标转让 黄酒商标转让 水饺商标转让 糖果商标转让 闲置商标转让 商标购买网站 月饼商标转让 购买月饼商标 购买牛奶商标 牛奶商标转让 购买餐饮商标 餐饮商标转让 啤酒商标转让 购买啤酒商标 购买酒类品牌 酒类品牌转让 购买饮料商标 饮料商标转让 食品商标转让 购买食品商标 购买镀膜商标 镀膜商标转让 机油商标转让 购买机油商标 头枕商标转让 购买头枕商标 车衣商标转让 购买车衣商标 购买车贴商标 车贴商标转让 凉垫商标转让 睡袋商标转让 包子商标转让

联系方式

【商标网】
企业QQ:1728988888
手机: 18211558558
官方微信:K58158
广东(总部)北京(分部)深圳(分部)