全部服务分类
  • 商标注册1专区

  • 申请商标专区

  • 商标套餐专区

  • 白酒商标转让专区

  • 商标转让专区

  • 版权登记专区

  • 城市商标注册专区

  • 中国商标转让专区

more

继MUJI后,又一日本网红品牌被中国商家抢注商标

*截止 ,共有人阅读了本文。

推荐阅读:继MUJI后,又一日本网红品


  品牌商标如果被别人抢注会有什么后果?最直接的影响就是品牌推广受阻,严重的话,还会导致品牌更名,比如说日本皇后卸妆水Alovivi,就是一个活生生的例子。

  日本皇后卸妆水Alovivi是东京芦荟株式会社旗下一款明星卸妆水产品,以温和、平价的优势逐渐替代贝德玛卸妆水,成为网红产品。

继MUJI后,又一日本网红品牌被中国商家抢注商标

  这款皇后卸妆水在日本、乃至国内都颇受欢迎,然而商标却早已被中国商家抢注。

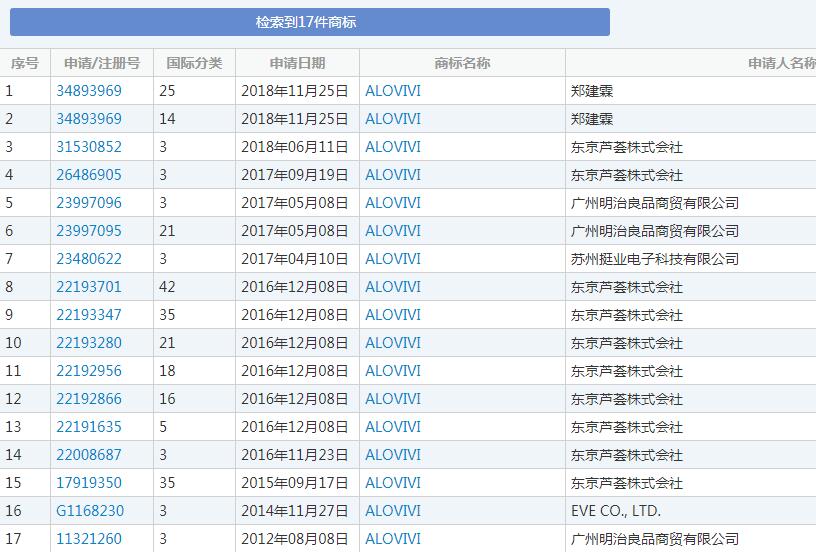
  根据中国商标网记录显示,广州明治良品商贸有限公司早在2012年8月就申请了 “ALOVIVI”商标,核准使用在化妆品等第3类商品上,并于2014年成功注册。除此之外,该公司申请了另外两件“ALOVIVI”商标。

继MUJI后,又一日本网红品牌被中国商家抢注商标

  而东京芦荟株式会社最早在我国申请“ALOVIVI”商标是2015年9月,足足晚了3年。

  这家广州公司还在淘宝开设了 “ALOVIVI”旗舰店,专门销售Alovivi卸妆水。很多人误以为这就是官方直营店,实际上它并不是。

  由于商标已经被注册,东京芦荟株式会社只能将产品名称直接改成“Purevivi”,虽然它也在淘宝开设了旗舰店,但还是有人误会。

  值得一提的是,这三件被抢注的“ALOVIVI”商标不是被提出异议,就是被申请无效宣告。

  李逵VS李鬼

  品牌商标被抢注,很容易导致自己苦心经营的品牌为他人做嫁衣,遇到这种情况,真的很吃亏。

  尽管如此,还是有很多企业在这上面栽了跟头,不光是ALOVIVI,就连同样来自日本的MUJI(无印良品)也不例外。

  由于第24类“无印良品”商标被海南南华实业贸易公司注册,并转让给北京棉田纺织品,用于旗下品牌“无印良品 Natural Mill”,后来导致真正的MUJI在中国维权失败。

继MUJI后,又一日本网红品牌被中国商家抢注商标

  正品输给山寨,听起来有点可笑。但这就是品牌不注重提前保护商标所带来的后果,别人成功注册了,你后面要注册,就会比较麻烦,所以抢占先机,赢在起跑线,很重要。

  如今,国内商标抢注现象严重,无论是国产企业,还是外来品牌,想要在国内发展,就必须要保护好商标,否则就很容易被山寨,要是像ALOVIVI、MUJI这样,被山寨抢了风头,吃亏的是自己。

  如果你还没有为自己的品牌保护商标,那就来一品知识产权保护吧!为了让广大用户更好地保护知识产权,一品知产近期推出商标注册优惠活动:

  从今日起至11月15日

  商标普通注册(单价888元),满3免1

  商标双享注册(一件不过,免费再申请一件)低至1111元

  机会难得,赶快加VX:2819886403 或致电13328307385 咨询!



上一篇:最惠买,第41类商标转让详情介绍
下一篇:“小鹿茶”商标三天遭抢“鹿角巷”95%是假却维


亿佰倍懂商标官方微信

欢迎关注亿佰倍懂

亿佰倍懂 微信号:K58158

热门TAGS


购买上海商标 商标复审 商标撤三答辩 商标驳回复审 国际商标驳回 知名商标转让 白酒商标网 19类商标转让 18类商标转让 17类商标转让 16类商标转让 15类商标转让 14类商标转让 13类商标转让 11类商标转让 12类商标转让 10类商标转让 9类商标转让 8类商标转让 7类商标转让 6类商标转让 5类商标转让 4类商标转让 3类商标转让 2类商标转让 1类商标转让 T恤商标转让 红酒商标转让 黄酒商标转让 水饺商标转让 糖果商标转让 闲置商标转让 商标购买网站 月饼商标转让 购买月饼商标 购买牛奶商标 牛奶商标转让 购买餐饮商标 餐饮商标转让 啤酒商标转让 购买啤酒商标 购买酒类品牌 酒类品牌转让 购买饮料商标 饮料商标转让 食品商标转让 购买食品商标 购买镀膜商标 镀膜商标转让 机油商标转让 购买机油商标 头枕商标转让 购买头枕商标 车衣商标转让 购买车衣商标 购买车贴商标 车贴商标转让 凉垫商标转让 睡袋商标转让 包子商标转让

联系方式

【商标网】
企业QQ:1728988888
手机: 18211558558
官方微信:K58158
广东(总部)北京(分部)深圳(分部)